調制器提高運動控制效率設計方案介紹。
內容簡介:電機控制中最常用的電流傳感器為分流電阻、霍爾效應(HE)傳感器以及電流互感器(CT)。雖然分流電阻不具有隔離功能且會引起損耗,但它是所有傳感器中最具線性、成本最低且同時適用于交流和直流測量的傳感器。為限制分流電阻功率損耗的信號電平衰減通常將分流應用損耗限制為50 A或更低。
工業運動控制涵蓋一系列應用,包括基于逆變器的風扇或泵控制、具有更為復雜的交流驅動控制的工廠自動化以及高級自動化應用(如具有高級伺服控制的機器人)。這些系統需要檢測多個變量,例如電機繞組電流或電壓、直流鏈路電流或電壓、轉子位置和速度。變量的選擇和所需的測量精度取決于終端應用需求、系統架構、目標系統成本或系統復雜度。還有其他考慮因素,例如狀態監控等增值特性。據報道,電機占全球總能耗的40%,國際法規越來越注重全體工業運動應用的系統效率(參見圖1)。
各種電機控制信號鏈拓撲中的電流和電壓檢測技術會因電機額定功率、系統性能要求和終端應用而有所差異。由于這個原因,不同的傳感器選擇、電流隔離要求、模數轉換器選擇、系統集成度和系統電源/接地劃分,導致電機控制信號鏈實現方案也不相同。雖然隔離要求通常對最終電路拓撲和架構有著重要影響,但本文關注的重點是如何改善電流檢測(作為一個影響因素)來實現更高效的電機控制系統。
電流和電壓測量
圖2所示為一個通用電機控制信號鏈。為實現高保真測量而進行的信號調理并非易事。相位電流檢測尤其困難,因為該節點連接的電路節點與逆變器模塊核心中的柵極驅動器輸出的節點相同,因此在隔離電壓和開關瞬變方面的需求也相同。
電機控制中最常用的電流傳感器為分流電阻、霍爾效應(HE)傳感器以及電流互感器(CT)。雖然分流電阻不具有隔離功能且會引起損耗,但它是所有傳感器中最具線性、成本最低且同時適用于交流和直流測量的傳感器。為限制分流電阻功率損耗的信號電平衰減通常將分流應用損耗限制為50 A或更低。電流互感器和霍爾效應傳感器可提供固有的隔離,因此能夠用于電流較高的系統,但它們的成本更高,并且在精度上不及采用分流電阻的解決方案,這是由于此類傳感器本身的初始精度較差或者在溫度方面的精度較差。與傳感器類型不同,電機電流測量節點有很多選擇,如圖3所示,其中以直接同相繞組電流測量最為理想,可用于高性能系統。
有許多拓撲可用來檢測電機電流,并需考慮多種因素,例如成本、功耗以及性能水平,但對大多數系統設計人員而言,一個重要目標是在成本控制范圍內提高效率。
從霍爾效應傳感器到分流電阻
與隔離式Σ-Δ調制器耦合的分流電阻可提供最優質的電流反饋,其中的電流電平足夠低。目前,系統設計人員明顯傾向于從霍爾效應傳感器轉移到分流電阻,并且與隔離式放大器方案相比,設計人員更傾向于采用隔離式調制器方案。將霍爾效應傳感器替換為分流電阻的系統設計人員往往會選擇隔離式放大器,并繼續使用之前在基于霍爾效應傳感器的設計中使用的模數轉換器(ADC)。這種情況下,無論ADC性能如何,設計性能都會受到隔離式放大器的限制。
將隔離式放大器和ADC替換為隔離式Σ-Δ調制器可消除性能瓶頸,并大大改善設計,通常可將其從9到10位的優質反饋提升到12位水平。此外,還可配置處理Σ-Δ調制器輸出所需的數字濾波器,以實現快速過流保護(OCP)環路,從而無需模擬過流保護電路。
現有Σ-Δ調制器可提供±250 mV(±320 mV滿量程用于OCP)的差分輸入范圍,特別適合阻性分流器測量。模擬調制器對模擬輸入持續采樣,而輸入信息則包含在數字輸出流內,其數據速率最高可達20 MHz.通過適當的數字濾波器可重構原始信息。由于轉換性能可與帶寬或濾波器群延遲進行交換,因此更粗略、更快速的濾波器能夠以大約2μs的時間提供快速OCP響應,非常適合IGBT保護。
縮小分流電阻尺寸
從信號測量方面來看,一些主要難題與分流電阻的選擇有關,因為需要實現靈敏度和功耗之間的平衡。電阻自身的發熱效應導致的非線性情況也會是使用較大電阻所面臨的挑戰。因此,設計人員必須做出權衡取舍,而更棘手的是,他們往往需要選擇一個適當大小的分流電阻,以滿足不同電流電平下各種型號和電機的需求。如果面對數倍于電機額定電流的峰值電流,并需要可靠捕獲兩者的值,則保持動態范圍也是一個難題。
面對這些難題,系統設計人員非常需要具有更寬動態范圍或更高信噪比和信納比(SINAD)的優異Σ-Δ調制器。最新的隔離式Σ-Δ調制器產品具有16位分辨率,并可確保高達12位有效位數(ENOB)的性能。
轉載請說明來自西安泰富西瑪電機(西安西瑪電機集團股份有限公司)官方網站:http://www.925ag.com.cn/zixun/dianjibaike104.html
圖1:工業驅動應用圖譜
各種電機控制信號鏈拓撲中的電流和電壓檢測技術會因電機額定功率、系統性能要求和終端應用而有所差異。由于這個原因,不同的傳感器選擇、電流隔離要求、模數轉換器選擇、系統集成度和系統電源/接地劃分,導致電機控制信號鏈實現方案也不相同。雖然隔離要求通常對最終電路拓撲和架構有著重要影響,但本文關注的重點是如何改善電流檢測(作為一個影響因素)來實現更高效的電機控制系統。
電流和電壓測量
圖2所示為一個通用電機控制信號鏈。為實現高保真測量而進行的信號調理并非易事。相位電流檢測尤其困難,因為該節點連接的電路節點與逆變器模塊核心中的柵極驅動器輸出的節點相同,因此在隔離電壓和開關瞬變方面的需求也相同。
圖2:通用電機控制信號鏈
電機控制中最常用的電流傳感器為分流電阻、霍爾效應(HE)傳感器以及電流互感器(CT)。雖然分流電阻不具有隔離功能且會引起損耗,但它是所有傳感器中最具線性、成本最低且同時適用于交流和直流測量的傳感器。為限制分流電阻功率損耗的信號電平衰減通常將分流應用損耗限制為50 A或更低。電流互感器和霍爾效應傳感器可提供固有的隔離,因此能夠用于電流較高的系統,但它們的成本更高,并且在精度上不及采用分流電阻的解決方案,這是由于此類傳感器本身的初始精度較差或者在溫度方面的精度較差。與傳感器類型不同,電機電流測量節點有很多選擇,如圖3所示,其中以直接同相繞組電流測量最為理想,可用于高性能系統。
圖3:隔離式和非隔離式電機電流反饋
有許多拓撲可用來檢測電機電流,并需考慮多種因素,例如成本、功耗以及性能水平,但對大多數系統設計人員而言,一個重要目標是在成本控制范圍內提高效率。
從霍爾效應傳感器到分流電阻
與隔離式Σ-Δ調制器耦合的分流電阻可提供最優質的電流反饋,其中的電流電平足夠低。目前,系統設計人員明顯傾向于從霍爾效應傳感器轉移到分流電阻,并且與隔離式放大器方案相比,設計人員更傾向于采用隔離式調制器方案。將霍爾效應傳感器替換為分流電阻的系統設計人員往往會選擇隔離式放大器,并繼續使用之前在基于霍爾效應傳感器的設計中使用的模數轉換器(ADC)。這種情況下,無論ADC性能如何,設計性能都會受到隔離式放大器的限制。
將隔離式放大器和ADC替換為隔離式Σ-Δ調制器可消除性能瓶頸,并大大改善設計,通常可將其從9到10位的優質反饋提升到12位水平。此外,還可配置處理Σ-Δ調制器輸出所需的數字濾波器,以實現快速過流保護(OCP)環路,從而無需模擬過流保護電路。
現有Σ-Δ調制器可提供±250 mV(±320 mV滿量程用于OCP)的差分輸入范圍,特別適合阻性分流器測量。模擬調制器對模擬輸入持續采樣,而輸入信息則包含在數字輸出流內,其數據速率最高可達20 MHz.通過適當的數字濾波器可重構原始信息。由于轉換性能可與帶寬或濾波器群延遲進行交換,因此更粗略、更快速的濾波器能夠以大約2μs的時間提供快速OCP響應,非常適合IGBT保護。
縮小分流電阻尺寸
從信號測量方面來看,一些主要難題與分流電阻的選擇有關,因為需要實現靈敏度和功耗之間的平衡。電阻自身的發熱效應導致的非線性情況也會是使用較大電阻所面臨的挑戰。因此,設計人員必須做出權衡取舍,而更棘手的是,他們往往需要選擇一個適當大小的分流電阻,以滿足不同電流電平下各種型號和電機的需求。如果面對數倍于電機額定電流的峰值電流,并需要可靠捕獲兩者的值,則保持動態范圍也是一個難題。
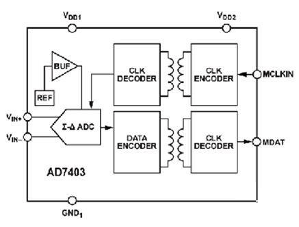
面對這些難題,系統設計人員非常需要具有更寬動態范圍或更高信噪比和信納比(SINAD)的優異Σ-Δ調制器。最新的隔離式Σ-Δ調制器產品具有16位分辨率,并可確保高達12位有效位數(ENOB)的性能。
圖4:高性能二階Σ-Δ調制器AD7403
轉載請說明來自西安泰富西瑪電機(西安西瑪電機集團股份有限公司)官方網站:http://www.925ag.com.cn/zixun/dianjibaike104.html
以上內容由西安泰富西瑪電機(西安西瑪電機集團股份有限公司)網絡編輯部收集整理發布,僅為傳播更多電機行業相關資訊及電機相關知識,僅供網友、用戶、及廣大經銷商參考之用,不代表西安泰富西瑪電機同意或默認以上內容的正確性和有效性。讀者根據本文內容所進行的任何商業行為,西安泰富西瑪電機不承擔任何連帶責任。如果以上內容不實或侵犯了您的知識產權,請及時與我們聯系,西安泰富西瑪電機網絡部將及時予以修正或刪除相關信息。
- 上一篇: 開關磁阻電機的特點及應用。
- 下一篇: 電機風罩的工作原理及其用途。
他們還瀏覽了...
- 2022-7-3電機風罩的工作原理及其用途。
- 2022-5-14高效節能電機過熱原因分析
- 2022-4-17多大功率的電機才需要降壓啟動?
- 2022-4-10如何看懂電機的型號?
- 2022-4-10電機維修期間應考慮什么?
- 2018-3-2開關磁阻電機的特點及應用。
- 2018-3-1電機維修中錯誤的操作帶來的危害性。
- 2018-2-23變頻電機的應用場合。
- 2018-2-6如何防止永磁同步電機失磁?
- 2018-2-5伺服電機節能原理分析。
行業資訊
電機風罩的工作原理及其用途。
高壓電機軸磨損維修的詳細流程
三相異步電動機安裝步驟以及西瑪電機的故障檢查
西瑪電機接線中最常見的幾種錯誤
綠色發展可以幫助電機廠家解決利潤問題
高效節能電機過熱原因分析
需要更換高效節能的電機的必要性分析!
西安西瑪電機頻率和速度之間的數學關系
高壓電機軸磨損維修的詳細流程
三相異步電動機安裝步驟以及西瑪電機的故障檢查
西瑪電機接線中最常見的幾種錯誤
綠色發展可以幫助電機廠家解決利潤問題
高效節能電機過熱原因分析
需要更換高效節能的電機的必要性分析!
西安西瑪電機頻率和速度之間的數學關系
西安西瑪電機舉辦“迎國慶”員工趣味運動項目比
關于西安西瑪電機的工作制,大家了解一下。
西安西瑪電機工會慶祝3月8日的評選頒獎活動。
西安西瑪電機向在抗擊疫情前線的工作人員們致敬
西安西瑪電機職工安全生產知識宣傳教育工作全面
西安泰富西瑪電機亮相第27屆中國西部國際裝備
西安泰富西瑪電機將高效節能三相異步電動機作為
西安西瑪電機始終堅持誠信銷售的理念。
關于西安西瑪電機的工作制,大家了解一下。
西安西瑪電機工會慶祝3月8日的評選頒獎活動。
西安西瑪電機向在抗擊疫情前線的工作人員們致敬
西安西瑪電機職工安全生產知識宣傳教育工作全面
西安泰富西瑪電機亮相第27屆中國西部國際裝備
西安泰富西瑪電機將高效節能三相異步電動機作為
西安西瑪電機始終堅持誠信銷售的理念。
泰富西瑪電機
配套電柜
電機配件
YKK系列高壓三相異步電機西安泰富西瑪YKK系列(H355-1000)高壓三相異步電機可作驅動
Y2系列緊湊型高壓異步電機西安泰富西瑪?Y2系列(H355-560)6KV緊湊型高壓異步電機可
YE3系列高效節能電機西安泰富西瑪電機生產的YE3系列高效節能電機達到了國標二級能效標準,
Z4系列直流電機西安泰富西瑪Z4系列直流電動機比Z2、Z3系列具有更大的優越性,它不
Z2系列小型直流電機西安泰富西瑪Z2系列電機為一般工業用小型直流電機,其電動機適用于恒功
ZTP型鐵路機車動車用直流輔助西安泰富西瑪ZTP系列西瑪電機應能滿足鐵路機車動車用直流輔助電機通用



西安西瑪電機緊跟電機行業的發展趨勢,了解電機市場動態,制定出西瑪電機的發展規劃,穩步前行。
隨著國家節能減排的積極推行,新能源汽車產業快速增長及高效節能電機補貼政策的逐步落實,高效節能電機業將迎來爆發式的增長。
西瑪電機售后維修業務有:軸料加工件、鋼板切割、焊接件、高壓機殼、冷卻器、上下罩、高、低壓交直流電機;國內、外電機的修理、維護和試驗。
質量為本,用戶至上”是我公司一貫宗旨。“誠心、貼心、傾心、西瑪永遠用心”的“三心”服務理念。
西安泰富西瑪電機(西安西瑪電機集團股份有限公司)是國內九大的電機供應商之一,產品包括各種高低壓、交直流、高壓同步電機等。

















